ТТ 6

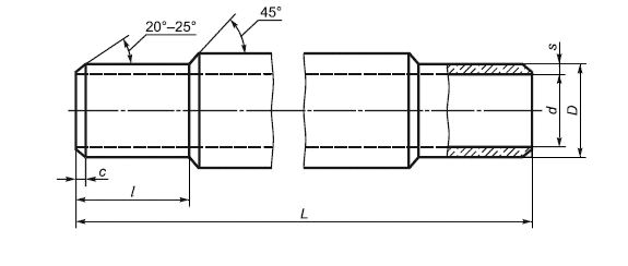
Чертеж изделия:
Характеристики изделия:
ПараметрЗначение
длина5950 мм
ширина224 мм
высота224 мм
масса160,65 кг
нормативный документГОСТ 31416-2009

ТТ 6  Хризотилцементные напорные трубы отопления  ГОСТ 31416-2009.