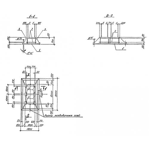
Ф4

Чертеж изделия:
Характеристики изделия:
ПараметрЗначение
длина1800 мм
ширина3300 мм
высота700 мм
вес6830 кг
серия0-221-84

Ф4 Плита фундаментная по серии 0-221-84.