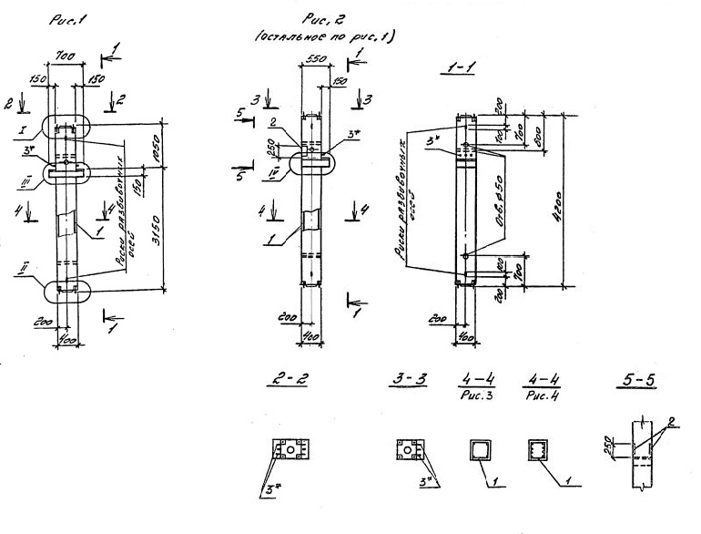
1КСД 42.00
Характеристики изделия:
| Параметр | Значение |
|---|---|
| длина | 4200 мм |
| ширина | 400 мм |
| высота | 700 мм |
| масса | 1730 кг |
| нормативный документ | Серия 1.020.1-4 |
Цена:
Рассчитать стоимость1КСД 42.00 Колонны двухконсольные для средних этажей (Серия 1.020.1-4).
Маркировка с учетом диаметра угловых стержней арматуры, в мм. и марки бетона:
1КСД 42.00-3.20.00
1КСД 42.00-3.22.00
1КСД 42.00-3.28.00
1КСД 42.00-3.36.00
1КСД 42.00-4.36.00
1КСД 42.00-5.36.00
1КСД 42.00-5.40.00