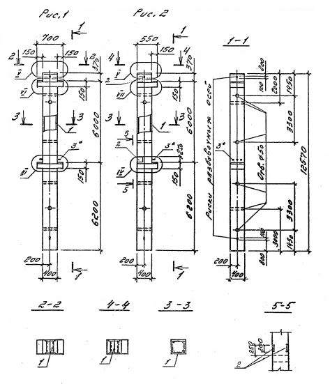
2КБД 60.60
Характеристики изделия:
| Параметр | Значение |
|---|---|
| длина | 12570 мм |
| ширина | 400 мм |
| высота | 700 мм |
| масса | 5120 кг |
| нормативный документ | Серия 1.020.1-4 |
Цена:
Рассчитать стоимость2КБД 60.60 Колонны бесстыковые двухконсольные (Серия 1.020.1-4).
Маркировка включает высоту этажей (дм), диаметры угловых и промежуточных стержней арматуры (мм), марку бетона:
2КБД 60.60-3.20.00
2КБД 60.60-3.22.00
2КБД 60.60-3.25.00
2КБД 60.60-3.28.00