2КНД 42.42

Чертеж изделия:
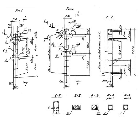
Характеристики изделия:
ПараметрЗначение
длина9650 мм
ширина400 мм
высота700 мм
масса3950 кг
нормативный документСерия 1.020.1-4

2КНД 42.42    Колонны двухконсольные для нижних этажей (Серия 1.020.1-4).

Маркировка с учетом диаметра угловых и промежуточных стержней арматуры, в мм. и марки бетона:

2КНД 42.42-3.22.00

2КНД 42.42-3.28.00

2КНД 42.42-3.36.00

2КНД 42.42-4.36.00

2КНД 42.42-4.40.00

2КНД 42.42-5.40.00

2КНД 42.42-5.40.36