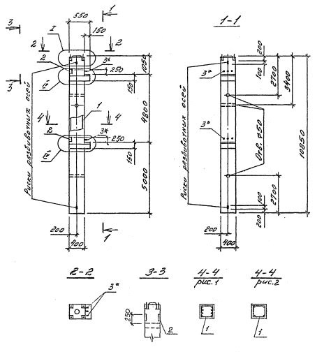
2КНО 48.48
Характеристики изделия:
| Параметр | Значение |
|---|---|
| длина | 10850 мм |
| ширина | 400 мм |
| высота | 550 мм |
| масса | 4380 кг |
| нормативный документ | Серия 1.020.1-4 |
Цена:
Рассчитать стоимость2КНО 48.48 Колонны одноконсольные для нижних этажей (Серия 1.020.1-4).
Маркировка с учетом диаметра угловых и промежуточных стержней арматуры, в мм. и марки бетона:
2КНО 48.48-3.20.00
2КНО 48.48-3.22.00
2КНО 48.48-3.25.00
2КНО 48.48-3.28.00
2КНО 48.48-3.32.00
2КНО 48.48-4.32.00
2КНО 48.48-3.36.00
2КНО 48.48-4.36.00
2КНО 48.48-5.36.00
2КНО 48.48-3.40.00
2КНО 48.48-4.40.00
2КНО 48.48-5.40.00
2КНО 48.48-5.32.28
2КНО 48.48-5.40.36