ПК 26.12
Характеристики изделия:
| Параметр | Значение |
|---|---|
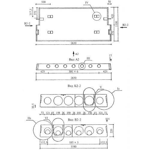
| длина | 2650 мм |
| ширина | 1190 мм |
| высота | 220 мм |
| масса | 1000 кг |
| нормативный документ | Серия 1.041.1-5 |
Цена:
Рассчитать стоимостьПК 26.12 Многопустотные плиты перекрытий межвидового назначения (Серия 1.041.1-5).
Плиты длиной 2650 мм и шириной 1190 мм связевые, рядовые с арматурой из стали классов A-III и Bp-I из тяжелого бетона.
