В2 3-70.27.12-1

Чертеж изделия:
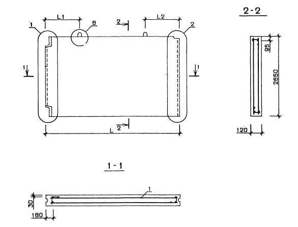
Характеристики изделия:
ПараметрЗначение
длина7030 мм
ширина120 мм
высота2650 мм
масса5520 кг
нормативный документСерия 1.131-2/82

Серия 1.131-2/82  Панели внутренних поперечных стен толщиной 120 и 160 мм.

В2 3-70.27.12-1  Внутренняя стеновая панель.