СБ 5.5-4.24.5-п-1.1

Чертеж изделия:
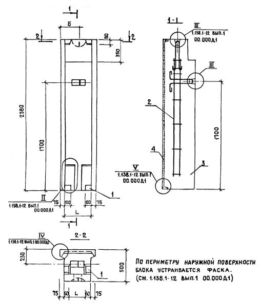
Характеристики изделия:
ПараметрЗначение
длина415 мм
ширина500 мм
высота2380 мм
масса805 кг
нормативный документСерия 1.138.1-12

Серия 1.138.1-12

СБ – стеновые блоки наружных стен, тип блока 5 – парапетный блок.