П 37.66.12

Чертеж изделия:
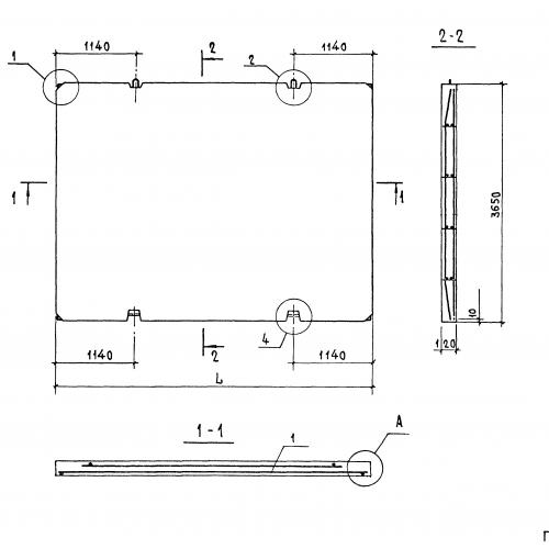
Характеристики изделия:
ПараметрЗначение
длина6580 мм
ширина3650 мм
высота120 мм
вес7210 кг
серия1.143.1-7

П 37.66.12 Плиты перекрытий по серии 1.143.1-7.