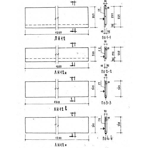
ЛН 12 к

Чертеж изделия:
Характеристики изделия:
ПараметрЗначение
длина1200 мм
ширина245 мм
высота35 мм
вес25,8 кг
серия1.151-1

ЛН 12 к  Накладные лестничные проступи конечные по серии 1.151-1.