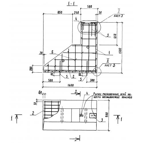
Ф 16.15.9

Чертеж изделия:
Характеристики изделия:
ПараметрЗначение
длина1600 мм
ширина900 мм
высота1500 мм
вес1770 кг
серия1.820.9-1

Ф 16.15.9 Фундамент столбчатый по серии 1.820.9-1.