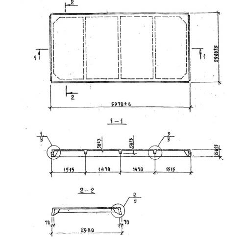
ПГ

Чертеж изделия:
Характеристики изделия:
ПараметрЗначение
длина5970 мм
ширина2980 мм
высота250 мм
вес1700 кг
серия1.865.1-4/80

ПГ плиты ребристые без проема  по серии 1.865.1-4/80.