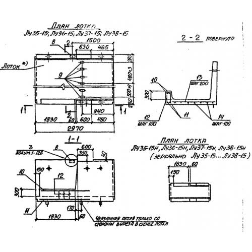
Лу 37/2 лотки угловые
Характеристики изделия:
| Параметр | Значение |
|---|---|
| длина | 2970 мм |
| ширина | 4000 мм |
| высота | 1400 мм |
| масса | 8000 кг |
| нормативный документ | Серия 3.006.1-2/87 |
Цена:
Рассчитать стоимостьЛу 37/2 Лотки теплотрасс угловые Серия 3.006.1-2/87.
| Параметр | Значение |
|---|---|
| длина | 2970 мм |
| ширина | 4000 мм |
| высота | 1400 мм |
| масса | 8000 кг |
| нормативный документ | Серия 3.006.1-2/87 |
Лу 37/2 Лотки теплотрасс угловые Серия 3.006.1-2/87.
