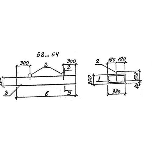
Б 4 балки

Чертеж изделия:
Характеристики изделия:
ПараметрЗначение
длина2750 мм
ширина380 мм
высота200 мм
масса540 кг
нормативный документСерия 3.006.1-8

Б 4  Балки перекрытия каналов Серия 3.006.1-8.