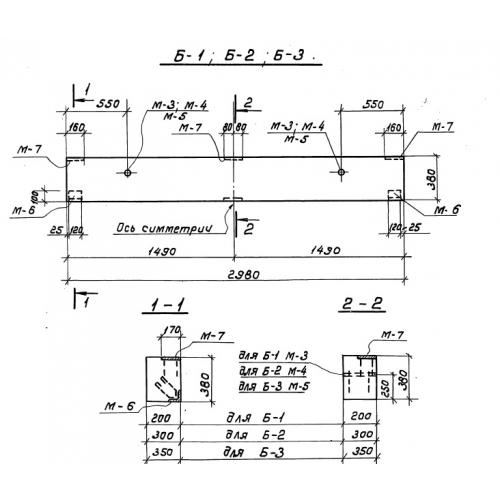
Б-2

Чертеж изделия:
Характеристики изделия:
ПараметрЗначение
длина2980 мм
ширина300 мм
высота380 мм
вес300 кг
серия3.016-3

Б-2 Керамзитобетонные блоки  по серии 3.016-3.