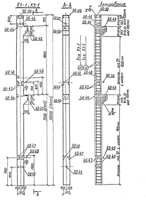
К колонна
Характеристики изделия:
| Параметр | Значение |
|---|---|
| длина | 13020 мм |
| ширина | 400 мм |
| высота | 400 мм |
| масса | 6800 кг |
| нормативный документ | Серия 3.407-102 |
Цена:
Рассчитать стоимостьК Бетонные армированные колонны Серия 3.407-102.
| Параметр | Значение |
|---|---|
| длина | 13020 мм |
| ширина | 400 мм |
| высота | 400 мм |
| масса | 6800 кг |
| нормативный документ | Серия 3.407-102 |
К Бетонные армированные колонны Серия 3.407-102.