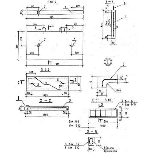
П 15.5 Плиты перекрытия лотков кабельных каналов
Характеристики изделия:
| Параметр | Значение |
|---|---|
| длина | 1495 мм |
| ширина | 495 мм |
| высота | 70 мм |
| масса | 88 кг |
| нормативный документ | Серия 3.407.1-157 |
Цена:
Рассчитать стоимостьП 15.5 Плиты перекрытия лотков кабельных каналов по Серии 3.407.1-157.
