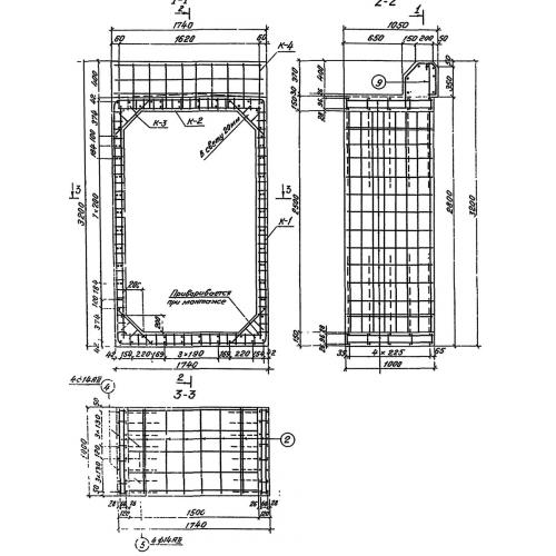
Блок №104

Чертеж изделия:
Характеристики изделия:
ПараметрЗначение
длина3200 мм
ширина1740 мм
высота1000 мм
вес3700 кг
серия3.501-104

Блок №104 Звенья оголовков по серии 3.501-104.