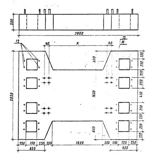
РС 3

Чертеж изделия:
Характеристики изделия:
ПараметрЗначение
длина3800 мм
ширина2850 мм
высота500 мм
вес9500 кг
серия3.501.1-131

РС 3 Ростверки по серии 3.501.1-131.