БП 77

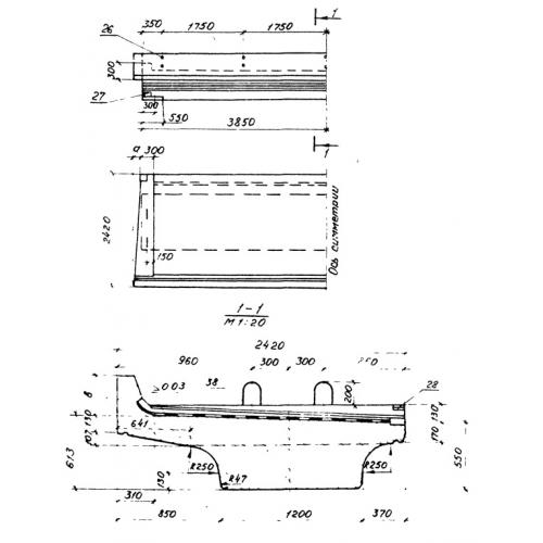
Чертеж изделия:
Характеристики изделия:
ПараметрЗначение
длина7700 мм
ширина2420 мм
высота1163 мм
вес22400 кг
Серия3.501.1-146

БП 77 Балки с пониженной строительной высотой по  Серии  3.501.1-146.