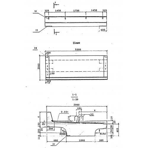
БП 1.53

Чертеж изделия:
Характеристики изделия:
ПараметрЗначение
длина5300 мм
ширина2060 мм
высота1030 мм
вес10400 кг
серия3.501.1-175.93

БП 1.53 Плитные балки по серии 3.501.1-175.93.