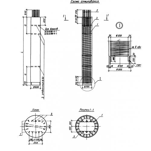
БСВ 8.100

Чертеж изделия:
Характеристики изделия:
ПараметрЗначение
длина10000 мм
ширина800 мм
высота800 мм
вес12600 кг
серия3.503.1-102

БСВ 8.100 Блоки столбов верхних по серии 3.503.1-102.