Р2

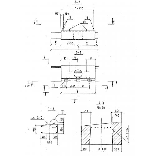
Чертеж изделия:
Характеристики изделия:
ПараметрЗначение
длина3100 мм
ширина1700 мм
высота700 мм
вес4900 кг
нормативный документСерия 3.503.1-95

Р2 Блоки ригеля по Серии 3.503.1-95.