Ф-3

Чертеж изделия:
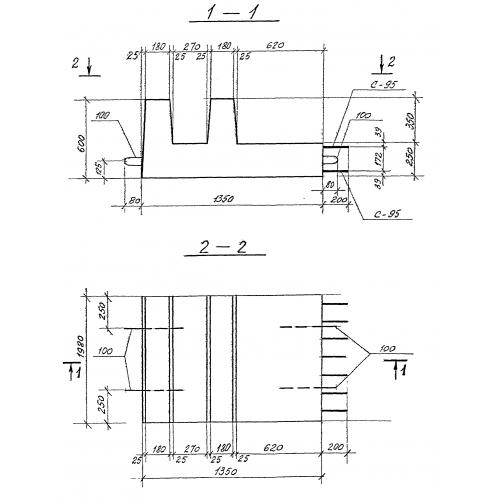
Характеристики изделия:
ПараметрЗначение
длина1350 мм
ширина480 мм
высота600 мм
масса600 кг
нормативный документСерия 3.903 КЛ-13

Ф-3  Фундаменты по Серии 3.903 КЛ-13.