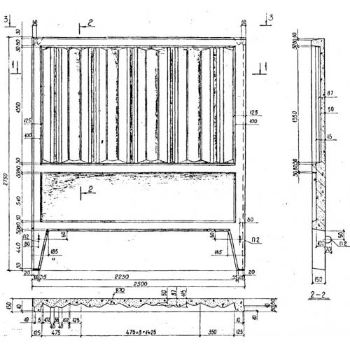
ПО-15 плиты забора
Характеристики изделия:
| Параметр | Значение |
|---|---|
| длина | 2500 мм |
| ширина | 150 мм |
| высота | 2750 мм |
| масса | 1490 кг |
| нормативный документ | Серия ИЖ 31-77 |
Цена:
Рассчитать стоимостьПО-15 Плиты ограждения по Серии ИЖ 31-77.
| Параметр | Значение |
|---|---|
| длина | 2500 мм |
| ширина | 150 мм |
| высота | 2750 мм |
| масса | 1490 кг |
| нормативный документ | Серия ИЖ 31-77 |
ПО-15 Плиты ограждения по Серии ИЖ 31-77.
